
|
上海川沪专业生产的ARVX自动排气阀,适用于市政供水管网。在一般情况下,水中约含2VOL%的溶解空气,在输水过程中,这些空气由水中不断释放出来,聚集在管线的高点处,形成空气袋,使输水变得困难,系统输水能力可因此下降约5-15%。AVAX自动排气阀主要功能就是排除这2VOL%的溶解空气,并适合装置于高层建筑,厂区内配管,小型泵站用以保护或改善系统的输水效率及节约能源。 AVAX型自动排气阀主要应用于暖通空调系统,往往安装在制高点或弯头等处,以排除管道中多余气体、提高管路使用效率及降低能耗。介质温度:0-80℃。ARVX自动排气阀广泛的应用于化工、石化、石油、造纸、采矿、电力、液化气、食品、制药、给排水、市政等相关行业。 |
![]() |
ARVX自动排气阀 |
公称压力:1.0~1.6MPa
适用介质:水、油等非腐蚀性液体
公称通径:10~25mm
试验便准:GB/T 13927 API598
![]() |
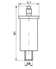
ARVX自动排气阀外形尺寸图 |
| DN | 10(3/8") | 15(1/2") | 20(3/4") | 25(1") |
| L1 | 47 | 47 | 47 | 47 |
| H1 | 113 | 113 | 113 | 113 |
| L2 | 102 | 102 | 102 | 102 |
| H2 | 127 | 127 | 127 | 127 |
注:表中尺寸为不带标准附件数据。另由于产品改进技术创新参数可能有一定变化,请咨询公司技术部门索取新数据。
|
|