
|
上海川沪专业生产的QB1单口排气阀主要由阀体、上盖、阀杆、浮球、排气嘴等组成,分法兰和丝扣两种排气阀,适用于小口径管道上管子为φ15-50,它作为管道的排气作用,使管道不会出现闭气、气阻,如水泵停电时管内随时会出现负压力,自动吸气可保护管道安全。 当需要排出管道内的气体时,管道内的空气在水的压强作用下进入体腔内,并从排气嘴排出,随之管道内的水充满体腔内,使浮球在水的浮力作用下,向上移动将排气嘴堵塞,达到自行密封,管道在正常行中,水中的空气在压强的作用下,不断排入排气阀的体腔上部,迫使浮球下降,离开原来密封位置,这时空气又从排气嘴排出,随之,浮球又恢复到原来位置自密封,因此,排气阀在正常工作中阀门始终是开着的,浮球不断重复上述动作,空气不断排出。当需要检修或清扫体腔时,应将阀门关闭。 |
![]() |
QB1单口排气阀 |
| 部件 | 材质 |
| 阀体 | 铸铁 |
| 阀盖 | 铸铁 |
| 浮球 | 不锈钢 |
| 塞头 | 橡胶 |
| 排气阀 | 黄铜 |
| 螺丝螺母 | 20号钢 |
![]() |
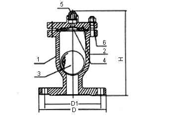
QB1单口排气阀外形尺寸图 |
| DN | H | D | D1 | Z-фd | |
| 法兰式 | 15 | 245 | 195 | 160 | 4-18 |
| 20 | 245 | 195 | 160 | 4-18 | |
| 25 | 245 | 195 | 160 | 4-18 | |
| 丝扣式 | 15、20 | 245 | |||
| 25、32 | 245 | ||||
| 40、50 | 310 |
注:表中尺寸为不带标准附件数据。另由于产品改进技术创新参数可能有一定变化,请咨询公司技术部门索取新数据。
|
|