
|
上海川沪阀门有限公司专业生产的低温截止阀,适用于空分、槽罐车等场合,可以耐受低温-20---196℃的低温,具有开关灵活、密封可靠的特点,也可用于其他低温和深冷介质的控制系统。低温截止阀主要设计制造标准如下: 设计与制造:JB/T7749-95 结构长度:GB/T12221-89 连接端:GB/T9113-2000,HG20592-97,SH3406-96GB/T12224-89 检验与试验:JB/T7749-95 |
![]() |
DJ41Y低温截止阀 |
| 体盖板 | 阀杆 | 密封面 | 垫片 | 埴料 | 工作温度℃ | 适用介质 |
| LCB | 1Cr17Ni12 | DTL/DTL | 1Cr13/柔性石墨低温石棉 | PTFE 浸四氟乙 烯石棉绳 柔性石墨 |
-46 | 丙烷/丙烯 甲醇,乙烷 煤气/液氨 |
| LC1 | -60 | |||||
| LC2 | -73 | |||||
| LC3 | 1Cr18Ni9Ti | -101 | ||||
| LC4 | -115 | |||||
| LC8 | -196 |
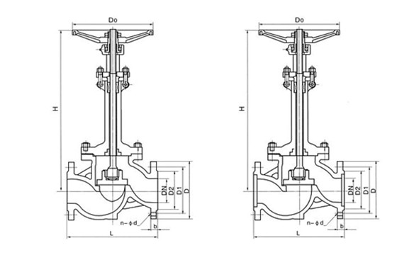
![]() |
DJ41Y低温截止阀 外形尺寸图 |
| 1.6MPa | DN | L | D | D1 | D2 | b | n-Φd | H | D0 | ||
| 凸面法兰 RF DJ41Y-16L DJ41Y-16L C1 DJ41Y-16L C2 DJ41Y-16L C3 DJ41Y-16L C4 DJ41Y-16P DJ41Y-16R |
-46℃ | 4-101℃ | -196℃ | ||||||||
| 50 | 230 | 160 | 125 | 100 | 16 | 4-Φ18 | 460 | 480 | 520 | 240 | |
| 65 | 290 | 180 | 145 | 120 | 18 | 4-Φ18 | 475 | 505 | 525 | 280 | |
| 80 | 310 | 195 | 160 | 135 | 20 | 8-Φ18 | 520 | 550 | 590 | 280 | |
| 100 | 350 | 215 | 180 | 155 | 20 | 8-Φ18 | 545 | 575 | 615 | 320 | |
| 125 | 400 | 245 | 210 | 185 | 22 | 8-Φ18 | 590 | 620 | 660 | 360 | |
| 150 | 480 | 280 | 240 | 210 | 24 | 8-Φ23 | 650 | 680 | 730 | 400 | |
| 200 | 600 | 335 | 295 | 265 | 26 | 12-Φ23 | 850 | 880 | 930 | 400 | |
| 250 | 730 | 405 | 355 | 320 | 30 | 12-Φ25 | 956 | 986 | 1036 | 450 | |
| 300 | 850 | 460 | 410 | 375 | 30 | 12-Φ25 | 1095 | 1125 | 1175 | 500 | |
| 2.5MPa | 50 | 230 | 160 | 125 | 100 | 20 | 4-Φ18 | 460 | 460 | 520 | 240 |
| 凸面法兰 RF DJ41Y-25L DJ41Y-25L C1 DJ41Y-25L C2 DJ41Y-25L C3 DJ41Y-25L C4 DJ41Y-25P DJ41Y-25R |
65 | 290 | 180 | 145 | 120 | 22 | 8-Φ18 | 475 | 505 | 525 | 280 |
| 80 | 310 | 195 | 160 | 135 | 22 | 8-Φ18 | 520 | 550 | 590 | 280 | |
| 100 | 350 | 230 | 190 | 160 | 24 | 8-Φ23 | 545 | 575 | 615 | 320 | |
| 125 | 400 | 270 | 220 | 188 | 28 | 8-Φ25 | 590 | 620 | 660 | 360 | |
| 150 | 480 | 300 | 250 | 218 | 30 | 8-Φ25 | 650 | 680 | 730 | 400 | |
| 200 | 600 | 360 | 310 | 278 | 34 | 12-Φ25 | 850 | 880 | 930 | 400 | |
| 250 | 730 | 425 | 370 | 332 | 36 | 12-Φ30 | 956 | 986 | 1036 | 450 | |
| 300 | 850 | 485 | 430 | 390 | 40 | 16-Φ30 | 1095 | 1125 | 1175 | 500 | |
|
|