
|
上海川沪专业生产的CJ123H多功能针型阀,适用介质:水、油、气体,使用压力从低压到25MPa高压,材质主要有304不锈钢、316不锈钢等。 |
![]() |
![]() |
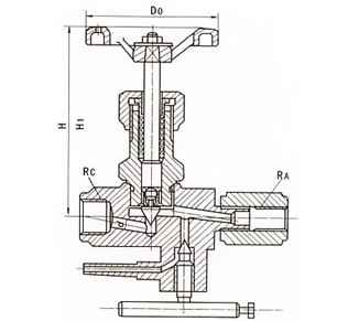
CJ123H多功能针型阀 J13W |
| 型号 Type |
公称压力PN Mpa | 试验压力PS(Mpa)_Test pressure | 工作压力(Mpa) | 工作温度(℃) | 适用介质Applicable medium | ||
| 壳体 Shell |
密封(液)Seal | 密封(气)Seal | |||||
| CJ123H1-250-DN15 | 25.0 | 37.5 | 27.5 | 0.6 | 25.0 | P≤540℃ | 液化石油气水,酸,蒸汽,油品等 Petroleum gas Water,As,Steam,Oil,etc |
| 型号 Type |
公称直径DN(mm) | 尺寸 Dimension | 重量(kg)Weight | |||||
| RA | Rc | Do | H | H1 | d | |||
| CJ123H1-250-DN15 | 15 | M20×1.5 | G1/2” | 65 | 100 | 110 | 5 | 1.4 |
1、安装位置、高度、进出口方向必须符合设计要求,注意介质流动的方向应与阀体所标箭头方向一致,连接应牢固紧密。
2、阀门安装前必须进行外观检查,阀门的铭牌应符合现行国家标准《通用阀门标志》GB 12220的规定。对于工作压力大于1.0 MPa 及在主干管上起到切断作用的阀门,安装前应进行强度和严密性能试验,合格后方准使用。强度试验时,试验压力为公称压力的1.5倍,持续时间不少于5min,阀门壳体、填料应无渗漏为合格。严密性试验时,试验压力为公称压力的1.1倍;试验持续的时间符合GB 50243的要求。
注:表中尺寸为不带标准附件数据。另由于产品改进技术创新参数可能有一定变化,请咨询公司技术部门索取新数据。
|
|